Устройство газовой горелки, особенности запуска и настройки пламени + нюансы разборки и хранения

Тонкая регулировка и настройка

Лучше всего выполнять эту процедуру с использованием газоанализатора и вооружившись таблицей допустимых значений CO, NO, NH в выхлопных газах. Но для начала в первом приближении это можно сделать на глаз.

В котле есть смотровое отверстие, через которое можно наблюдать пламя в камере котла. Посмотрим в это отверстие. Сейчас пламя оранжевого цвета. Газа слишком много. Постепенно убавляем подачу газа регулятором на газовой рампе. Пламя должно стать практически невидимым с легким голубоватым отсветом. Это и есть оптимальный режим работы. Если еще больше понизить подачу газа, то пламя станет совсем невидимым, а потом просто погаснет. Было бы ошибкой думать, что чем больше воздуха и меньше газа, тем лучше сгорание. При увеличении содержания воздуха в газовоздушной смеси падает температура горения, из-за этого газ будет сгорать не полностью. Так что соотношение должно быть оптимальным.

Регулятор стартовой подачи газа можно вообще оставить в покое. Он работает только в момент запала и на эффективность работы горелки в целом влияния практически не оказывает. Но можно его тоже отрегулировать выключив горелку, уменьшая стартовую подачу и включая горелку для проверки до тех пор, пока она не перестанет загораться. Теперь нужно увеличить стартовую подачу газа, повернув регулятор в обратную сторону (в сторону увеличения подачи) на пол оборота, и убедиться в том, что горелка надежно включается.

Если пламя горит с гулом, характерным для реактивного двигателя, то нужно уменьшить длину пламени с помощью соответствующего регулятора.

После завершения установки и настройки нужно проверить герметичность всех соединений, отсутствие утечки газа. Делается это с помощью мыльной воды (лучше всего использовать жидкость для пускания мыльных пузырей, разведенную водой 1 / 1). Жидкость наносится на места соединений. Если есть утечка, то появляются пузыри. Проверять герметичность с помощью открытого пламени категорически не следует.

Как выбрать горелку

Требуемая мощность приспособления зависит, в первую очередь, от количества потребителей. При небольшом количестве потребителей достаточна маломощная горелка. При количестве в 5 или 6 пользователей потребуется устройство наибольшей мощности. В том случае, если количество пользователей намного больше стоит запастись несколькими приборами.

Конструкция выбранной модели зависит только от личных предпочтений: необходима горелка минимального размера либо важна скорость приготовления, при этом устройство станет намного габаритнее.

Для удобства стоит приобретать прибор с пъезоподжигом.

Тип крепления баллона

Не менее важно подумать и о дополнительной комплектации. В первую очередь возникает необходимость в чехле для перевозки устройства

Удобно, когда в комплекте с горелочным прибором прилагается специальный держатель посуды.

К дополнениям относится и специальная защита от порывов ветра – задувание пламени. Такое приспособление значительно экономит топливо

При подборе дополнения обратите внимание на конструкцию, поскольку наличие в ней частей из пластика недопустимо

Устройство горелки и ее разновидности

Все отопительные котлы отличаются между собой по типу топлива, которое в них применяется. Самым доступным, конечно же, является газ. Этот вид топлива наиболее распространенный и от него меньше всего отходов горения. При этом уровень КПД достаточно высокий.

А стандартная газовая горелка – это основной элемент в отопительной системе, который осуществляет подачу и розжиг топлива в газовом котле. Именно об устройстве и принципе работы горелки мы подробно поговорим далее.

Как устроена и работает газовая горелка?

Газовая горелка предназначена для того, чтобы подавать горючую смесь вместе с воздухом, далее эти компоненты смешиваются в камере сгорания. Дальнейший процесс заключается в том, чтобы поддерживать равномерное горение топлива.

Принцип работы предположительно разделим на такие этапы:

Так, сначала все необходимые составляющие горючей смеси проходят подготовительный процесс. Они набирают определенную скорость, температуру и нужное направление движения частиц. Далее топливо совмещается с воздухом и попадает в камеру сгорания топлива. После этого происходит его возгорание.

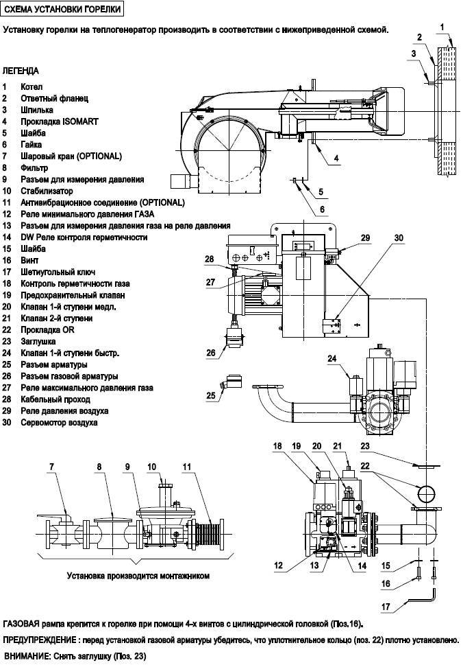
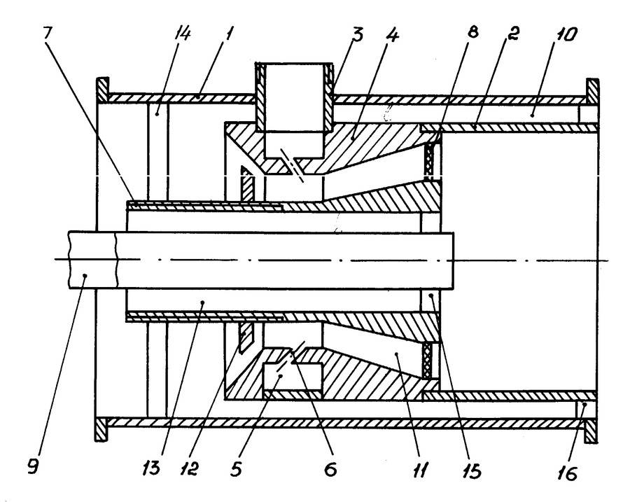
Основные конструкционные элементы газовой горелки рассмотрены на схеме, приведенной ниже.

Что касается возможных поломок горелки и безопасности использования газового оборудования при этом, то производители котлов не забыли учесть этот момент. Так, во всех современных котлах есть дополнительные конструктивные элементы, которые обеспечивают более безопасную работу и автоматическую остановку при поломке горелки или прочих аварийных ситуациях.

Когда некоторые элементы оборудования выходят из строя, то в случае их поломки прибор самостоятельно отключается.

Есть модели, в которых розжиг происходит путём подачи искры от электрического пьезоэлемента. Но и в таких котлах также есть составляющие элементы, которые способны обеспечить безопасность использования оборудования в случае поломки газовой горелки или при прочих неисправностях.

Чтобы при розжиге горелки не возникали проблемы, важно своевременно проводить ТО. Обязательную проверку и обслуживание газового котла необходимо выполнять перед отопительным сезоном, но не реже чем один раз в год

Основные виды горелок для газового котла

Для максимальной эффективности работы отопительной системы в частном доме в газовый котел устанавливают горелку. Подобное оборудование облегчает регулирование процессов горения в системе. Вследствие этого топливо равномерно сгорает.

Горелки по принципу работы делят на:

  • инжекционные;
  • турбированные;
  • комбинированные.

Инжекторный (инжекционный) тип газовых горелок – составная часть газового котла. Она работает таким образом, что воздух проникает в рабочую зону путем инжекции. Чтобы равномерно поддерживать процесс горения, окислитель поступает в резервуар под определенным давлением и смешивается с газообразным топливом.

Этот тип прибора предназначен исключительно для работы с природным газом. Для другого типа газа, например, сжиженного, необходимо устанавливать дополнительные элементы.

Второй тип горелок (турбированный) работает по другому принципу. Здесь воздух поступает в рабочую зону и смешивается с горючим топливом при помощи вентилятора. Благодаря системе управления можно регулировать скорость вращения лопастей, тем самым регулировать подачу окислителя. Такое устройство позволяет качественно повысить КПД котла.

Несмотря на шум, который доносится от вентилятора, такие приборы довольно эффективны, а нежелательные звуки можно устранить путем установки дополнительных шумоподавляющих приспособлений. Они более производительные. Но, как известно, турбины часто выходят из строя при несоблюдении правил эксплуатации.

Но, есть и горелки комбинированного типа. Они также предназначены для котлов и работают не только на газу, но и на других видах топлива. Для таких систем отопления не нужны дополнительные конструктивные элементы, так как они установлены изначально. Эти виды оборудования стоят намного дороже.

Также горелки разделяют на промышленные и бытовые. Разницы между их принципом работы практически нет.

Но, несмотря на различия в устройстве газовых горелок, все они предназначены для качественного сжигания топлива.

Технология пайки

Подлежащее спайке место требуется предварительно очистить от загрязнений, ржавчины, грязи и обезжирить. После предварительной подготовки изделия тщательно высушивают и покрывают флюсом. Спаиваемые детали должны быть зафиксированы, чтобы у паяльщика были свободны обе руки, поскольку во время работы надо будет держать горелку и припой.

Затем изделие прогревается таким образом, чтобы материал был нагрет равномерно по всей длине соединения. Для этого факел непрерывно перемещают вдоль шва.

Обращайте внимание на пламя горелки. Отрегулированное правильное пламя имеет темное ядро, среднюю часть и края с четкими контурами

В случае подачи избыточного кислорода пламя резко становится короче, а если дается много горючего газа, то пропадает средняя зона, длина пламени увеличивается, теряет четкость, огонь начинает чадить.

Самая высокая температура находится в конце ядра, поэтому предварительный нагрев лучше проводить наружной частью пламени. После того как паечный шов прогрет до температуры плавления используемого припоя, на шов подается конец прутка припоя, покрытого флюсом, который, расплавляясь, закрывает шов.

Во избежание выгорания, припой надо прогревать быстро при нейтральном, не самом горячем пламени. После окончания пайки лучше не трогать детали до полного затвердения припоя, чтобы не сместить заготовки.

Изготовление газовой горелки

Приступая к самостоятельному изготовлению устройства, необходимо приготовить инструменты для работы и подобрать требуемый материал. Прежде всего, выбирают материал для ручки. Жёстких требований не существует, поэтому каждый может использовать свою фантазию и возможности. Основными требованиями к ручке являются: её удобство в эксплуатации, чтобы она не перегревалась во время работы. Опыт показывает, что целесообразно использовать готовую рукоятку. Например, ручка от какого-нибудь, вышедшего из строя паяльника, кипятильника или другого бытового прибора.

Для изготовления подводящей трубки используется сталь. Выбирают стальную трубку диаметром не более 1см и толщиной стенки 2,5 мм. Изготовленную рубку вставляют в подготовленную ручку. Там её необходимо надёжно закрепить. Способ крепления выбирается в соответствии со своими возможностями.

После этого рассекатель надёжно закрепляют в корпусе. Следует предусмотреть небольшой зазор для внутреннего фланца. Рекомендуемый зазор должен составлять примерно 5мм. Такой зазор обеспечит необходимое замедление скорости потока газа, который поступает к запальнику. Замедление позволит надёжнее зажигать горелку.

Рекомендуем: Как поставить прибор учета тепловой энергии в квартире многоквартирного дома

Форсунку изготавливают из металлического прута. Она обеспечит подачу газа к области горения. Её изготавливают следующим образом. Сверлом диаметром в 2мм аккуратно делают глухое отверстие в корпусе форсунки. Затем сверлят отверстие сверлом 4мм. Оно необходимо для создания перемычки. Их аккуратно заклёпывают и шлифуют.

Чертеж газовой горелки

Конец изготовленной трубки соединяют с выходным отверстием редуктора. Для соединения применяют гибкий шланг. Материал подбирают из перечня разрешённых материалов для бытовых газовых систем. Это может быть специальная резина или особый тканевый материал. Для обеспечения надёжности и пожарной безопасности целесообразней использовать сертифицированный материал. Шланг надевают на трубку и закрепляют его стандартным хомутом.

После завершения сборки всего аппарата, требуется выставить оптимальное давление в баллоне. Перед поджигом горелки следует тщательно проверить всю систему подачи газа, смешивания с воздухом на наличие возможных утечек. Если они проявились, их обязательно необходимо устранить. Только после всех проверок можно зажигать горелку. Горелка должна обеспечивать длину горящей струи до 50 мм.

Грамотно самостоятельно собранная горелка прослужит надёжным помощником в делах на длительный срок. Она будет тем средством, которое поможет решать многие бытовые задачи, не прибегая к применению дорогостоящего инструмента.

Обзор предложений рынка

Газовоздушные горелки – самые безопасные в своем роде. Просты в использовании, легкие и создающие пламя достаточно большой мощности. Но современный рынок предлагает также более стандартные варианты, которые работают без кислорода. Выбирайте такую, с какой вам будет комфортнее всего работать:

ГГ-2С: против сильного ветра

А это уже – профессиональное оборудование. Работает такая горелка на пропане и отличается от предыдущих моделей тем, что отлично работает при сильном ветре. Весь секрет в ее структуре – двух вентилей и двух корпусов, которыми легко точно регулировать режим работы.

Рекомендации по хранению и разборке

Все газовые приборы требуют бережного обращения и соблюдения правил безопасной эксплуатации. Поэтому не рекомендуется самовольно устранять неисправности или разбирать горелку и сам газовый котел.

Во избежание несчастных случаев, а также для обеспечения правильной и эффективной работы прибора рекомендуется обращаться в газовую компанию, с которой у вас заключен договор на техническое обслуживание. Вызов специалиста будет самым разумным решением, ведь стоимость вашей жизни и жизней окружающих вас людей намного выше, чем обращение к специалисту.

Что касается хранения бытовых газовых горелок, тут все так просто. Их необходимо хранить в сухом и проветриваемом месте, чтобы избежать коррозии металлических деталей.

Убедитесь, что внутри отопительной системы вашего котла нет влаги, если розетки заржавели, скорее всего, влага присутствует. Если вы планируете оставить газовый котел на зиму в гараже или другом неотапливаемом помещении, убедитесь, что эти входы не закрыты

Для хранения самого котла нужно следить за тем, чтобы на розетках для подключения труб отопления не было заглушек.

также необходимо следить за тем, чтобы внутри не было воды. Если воду не слить, бак заржавеет, и бойлер выйдет из строя.

Виды портативных горелок

Газовыми горелками называют устройства, различные по конструкции и назначению, но их объединяет общая черта – функционирование производится от газа.

Портативные устройства, предназначенные для работы от маленькой тубы, наполненной пропан-бутаном или другим газом, не нужно путать с духовками или мощными агрегатами для сварки, которые работают от природного газа или большого баллона.

Предлагаем краткий обзор основных элементов конструкции недорогой горелки для газового баллончика, которая служит прекрасным образцом домашнего устройства. Оно может пригодится для ремонта на даче или для барбекю.

С помощью компактного прибора можно быстро разжечь мангал, нагреть болты или гайки на морозе, расплавить пластиковые детали, обработать термоусадки. Температуры пламени (до +1300°С) хватает для пайки металлических труб.

Это пример горелки популярного среди пользователей типа, но ассортимент приборов намного шире. Рассмотрим наиболее востребованные виды.

Различие по сфере использования

Открытое пламя может потребоваться и в быту, и на отдыхе, и во время выполнения монтажных работ. Одна из сфер применения – туристическая. В походных условиях с помощью простого прибора разжигают костер, разогревают консервы.

Горелки с направленным факелом «пистолетного» типа часто применяют в монтажных работах при пайке медных труб, для сгибания пластиковых элементов.

Высокотемпературными мощными лампами можно обрабатывать и стальные детали, но для этого требуется твердый припой и немного измененная техника пайки.

Также газовые портативные горелки применяются для следующих работ:

  • обработка деревянных деталей;
  • розжиг мангала, костра на даче без использования химических средств;
  • прокаливание и резка металлических заготовок;
  • опаливание туш животных при разделке;
  • оттаивание замерзших трубопроводов.

Полезный прибор всегда под рукой у мастеров-умельцев, которые самостоятельно любят благоустраивать дом и облагораживать приусадебный участок. Горелка может пригодиться в автомастерской, при строительстве теплицы или других сооружений.

Деление по способу присоединения баллончика

Картридж с горючим является расходным материалом. Как только топливо заканчивается, он отсоединяется от горелки, а на его место устанавливается новый баллончик.

Существует несколько видов присоединения картриджа к устройству:

  • резьбовые – фиксируются с помощью резьбы, проще говоря – накручиваются;
  • цанговые – надеваются и слегка поворачиваются в одну из сторон;
  • клапанные – закрепляются фиксатором;
  • прокалываемые – соединяются с помощью легкого нажатия.

Резьбовые модели встречаются чаще остальных. Они образуют прочное соединение двух элементов, которые можно в любой момент разъединить. Прокалываемые, напротив, нельзя отключать, пока газ в баллончике не закончится.

Слабая сторона цанговых устройств – быстрое разбалтывание фиксатора, вследствие чего происходит потеря газа.

Более надежными считаются клапанные горелки, которые обычно предназначены для разогрева пищи.

Различие газовых горелок по типу топлива

Производители используют различное горючее для наполнения расходных картриджей. Выбор сжиженного газа основывается на назначении горелок, требуемой температуры пламени, мощности. Чтобы улучшить характеристики состава, иногда смешивают несколько различных видов топлива.

Чаще остальных применяются следующие комбинации веществ:

  • смесь пропана и бутана (70:30) – в основном, для летнего применения, но с устройством нагрева используется и зимой;
  • комбинация пропана, бутана и изобутана в различных пропорциях;
  • смесь MAPP – метилацетилен-пропадиен-пропан, чаще используется для сварки при температуре 1600-2500°С.

Но бывают баллончики, заполненные каким-то одним газом, например, бутаном.

Выбор топлива важен, когда предстоят работы в жестких условиях – на морозе или на большой высоте. А летом для розжига мангала или костра подойдет любой универсальный газ.

Рекомендации в работе

Газовая горелка является самостоятельным источником большого количества тепловой энергии. При помощи рассматриваемого устройства можно проводить широкий спектр работ (достаточно просто отрегулировать мощность и температуру пламени):

  • Прибор с тонким пламенем используется для плавления и сварки швов на изделиях из кварца, фарфора, пластмассы или стекла;
  • Прокаливание труб, прогрев или выжигание листов и изделий из сплавов и легкоплавких металлов. Такие работы лучше выполнять с помощью газовой горелки, имеющей пламя направленного действия и температуру горения не менее 1500 градусов;
  • Розжиг дров в костре или мангале, нанесение узоров на поверхности древесины, а также обжиг деревянных конструкций. Выбирать лучше горелку с минимальной температурой пламени;
  • Приготовление еды. С помощью горелки можно быстро и качественно обработать тушку птицы, задать определенную текстуру и оттенок мясному блюду и даже декорировать десерт. Для этих целей также рекомендовано выбирать прибор компактных размеров и имеющий минимальную температуру пламени.

В процессе использования газовой горелки важно помнить о том, что отсутствие кислорода становится причиной неполного горения пламени и образованию продуктов горения, то есть сажи. Эти обстоятельства негативно отразятся на конечном результате проводимой работы

Важно помнить и об основных правилах техники безопасности при работе с газовыми горелками, так как она неразрывно связано с открытым огнем и определенными рисками. Можно выделить следующие правила:

  1. Перед началом любых работ, связанных с использованием газового прибора, следует внимательно изучить рекомендации производителя и конструкцию самого устройства. В случае обнаружения несоответствий устройства с инструкцией начинать работу категорически запрещено. Во время работы не нужно отклоняться от рекомендаций, приведенных в инструкции.
  2. Не допускается нагревание баллона, провоцируемое за счет близкого нахождения открытого теплового источника, к примеру, печки или костра. Перегрев баллончика может привести к его детонации и нанесению травм разлетевшимися кусочками металла. Также рекомендовано оберегать баллончик от прямого воздействия солнечных лучей.
  3. По окончании выполнения работы баллончик и непосредственного газовую грелку следует упаковывать в каталитическую грелку. Такой способ хранения позволит сохранить работоспособность устройства и мощность сгорания в течение длительного срока. Особенно это правило касается горелок, которые используются очень часто.

Какими бывают горелки

Если газовую горелку рассматривать с точки зрения способа управлением тепловой мощностью, то все модели можно разделить на следующие категории:

  1. Одноступенчатые. В данном случае подача (отключение) газа происходит автоматически, по сигналу реостата.
  2. Двухступенчатые. Горелка имеет конструктивную возможность переходить в экономный режим. Этот процесс регулируется автоматически.
  3. Горелки с плавающей регулировкой. Мощность горелки можно изменять плавно, от 10 до 100 процентов.

Горелки подразделяются по способу подачи воздуха:

  1. Атмосферные. В данном варианте не нужно электричество, воздух поступает к горелке под естественным действием тяги. КПД не очень высокое, не больше 90 процентов. Это простая конструкция: труба с отверстиями, куда подаётся топливо. Работает она в камерах сгорания открытого типа. Их можно быстро переоборудовать при необходимости под жидкое топливо, срок службы у таких горелок очень долгий. Однако такие горелки предъявляют к себе повышенные требования безопасности.
  2. Наддувные. Их ещё называют дутьевыми или вентиляторными горелками. Это довольно сложная конструкция. Воздух к горелке подаётся вентилятором, камера сгорания в этом случае закрытая. КПД превышает 95 процентов. Печам с такими горелками не нужны громоздкие дымоходы. Печь при этом стабильно работает даже при низком давлении газа. Однако они производят много шума и энергозависимые.
  3. Диффузно-кинетические. Воздух в камеру сгорания нагнетается частично, остальная часть подводится сразу к пламени.

Газовые горелки

Как понятно из названия, работают на газе путем смешения его с воздухом, поэтому могут применяться только там, где есть магистральная подача газа (также могут работать на сжиженном газе). Горелки ACV являются премиксными, за счет особенностей конструкции они намного тише обычных надувных горелок и экономичнее. Могут быть одноступенчатыми и модулируемыми.

Идеально сочетаются с котлами ACV, но могут применяться и для оснащения нагревательного оборудования сторонних производителей. Газовая горелка ACV – это качество во всем, начиная от продуманной конструкции и заканчивая подбором материала изготовления.

Электро- или пьезорозжиг, контроль пламени.

Высокая степень экономичности.

Возможность работы даже тогда, когда газ подается с низким давлением.

Минимальный уровень шума.

Удобство в управлении.

Простая установка и обслуживание.

Унифицированные комплектующие и запчасти ко всем горелкам ACV.

Самодельные агрегаты

Есть умельцы, которые переделывают отопительные системы своими руками. В интернете можно найти даже необходимые схемы изменения устройств газовых горелок, их установки и регулировки.

Обычно на изготовление отопительных систем в качестве материала используется металл. Топка из чугуна была бы куда более надежной. Тем не менее в домашних условиях использовать его не представляется возможным.

Отличным вариантом ручной работы является заказ системы у специалистов. Они смогут изготовить устройство в соответствии со всеми пожеланиями заказчика. Однако не исключена вероятность наличия в котлах дефектов, которые могут проявиться спустя некоторое время.

Для чего нужны самодельные отопительные агрегаты? Дело в том, что отмеченные варианты отличаются более низкой стоимостью. Их делают в основном из-за желания хорошо сэкономить. В то же время указанные варианты уступают своим фабричным аналогам в эффективности.

Изготавливаются обычно только твердотопливные и электрические агрегаты. Мастерить газовый, а также дизельный котел крайне опасно. Кроме того их установка в доме строго запрещена.

По принципу работы самодельное изделие ничем не отличается от покупного варианта. В нем будет сгорать горючее и нагреваться теплоноситель заполненный водой.

К основному недостатку данного агрегата можно отнести отсутствие гарантии. Заводское оборудование будет работать и выполнять свои функции. Даже если покупатель наткнется на брак, он сможет поменять продукт на другой.

В качестве горючего в агрегатах, сделанных своими руками, лучше использовать пеллеты, дрова, уголь. Эти материалы менее опасны, чем газ. На основе последнего делать отопительные устройства нельзя.

Простые твердотопливные агрегаты являются самыми популярными и распространенными самодельными устройствами. Они просты, а их конструкция во многом схожа с обычной печью. Кроме того, они отличаются универсальностью.

Как и обычная печь, данные системы способны функционировать на любом твердом топливе. Главное, чтобы горело.

Основные части газового котла.

Эффективность самодельного оборудования существенно ниже заводского. На нее оказывают влияние многие факторы.

Среди них:

  • теплоизоляция;
  • полнота сгорания;
  • правильность выводов.

КПД агрегата напрямую зависит от температуры сгорания. Чем она выше, тем ниже эффективность. В качественных системах температура в топке поддерживается на уровне 120–150°С. Более высокие ее значения снижают сохранность труб. Это в свою очередь существенно сокращает долговечность агрегата.

При изготовлении отопительных котлов с горелкой лучше максимально обезопасить себя от возможных последствий ее работы. Поэтому следует рассмотреть отдельную покупку автоматической газовой горелки, которая будет установлена в атмосферной или дутьевой котельне.

Своими руками можно изготовить и электрические отопительные агрегаты. Их конструкция может быть различной. Все зависит от запросов человека. Самым простым вариантом является установка ТЭНа прямо в систему отопления. В таком случае отпадает необходимость в изготовлении котла.

Труба с нагревателем должна иметь достаточно большой диаметр. Она должна легко сниматься для проведения ремонта и чистки.

Отдельного внимания заслуживают системы без нагревателя. Его роль выполняет сама вода. Через нее пропускается ток, и за счет движения ионов воды происходит нагрев. Сама жидкость должна содержать соль.

Изготовить подобное устройство крайне тяжело. Электрический ток проходит непосредственно через теплоноситель, поэтому всю систему необходимо надежно изолировать.

Одной из опасностей данного устройства является электрический пробой. По сути, то же, что и короткое замыкание. Также в системе может скапливаться газ. В результате эффективность отопления снизится.

Из всего вышесказанного, лучшим вариантом является твердотопливный агрегат. Собрать его корпус можно из жаростойкой стали. Она отличается повышенной прочностью, меньшей изнашиваемостью и высокой стойкостью к термическим воздействиям.

Тем не менее жаростойкая сталь стоит дорого и на практике в котлах кустарной сборки применяется редко. Еще один вариант – чугун: этот материал отлично переносит жар, хотя работать с ним тяжело. Оборудование для изготовления чугунной печи есть только на специализированных предприятиях.

Важно понимать, что без должного опыта и навыков, лучше не мастерить отопительную систему собственноручно. Безопасность должна быть на первом месте. Достаточно допустить даже одну неточность, и это может привести к плачевным последствиям

Достаточно допустить даже одну неточность, и это может привести к плачевным последствиям.

Поделитесь в социальных сетях:FacebookXВКонтакте
Напишите комментарий