Тонкости проектирования дымового канала
Правильная установка и крепление агрегата – это один из важнейших этапов, поскольку нарушения определенных норм приводят к недееспособности системы. При проектировании канала необходимо учитывать следующие пункты.
особенности проектирования дымового канала
Нормативные требования
Основные требования по установке такого оборудования закреплены в соответствующей документации к агрегату, а также в нормах СНиП по дымоходам. Здесь прописаны максимальные и минимальные расстояния между трубами, положение элементов, которые напрямую влияют на работу агрегата. Если в процессе установки не будут соблюдаться нормативные требования, то при эксплуатации устройства может возникнуть «обратная тяга», которая выбросит все вредные вещества в помещение.
Обеспечение борьбы с конденсатом
Максимальное количество тепла на газовых котлах передается на теплообменник – в результате такой системы некоторые продукты горения могут образовываться с невысокими температурами. Таким образом, внутри дымохода может образовываться конденсат, который негативно влияет на целостность системы. Для того чтобы предотвратить появление конденсата, в нижней части дымохода закрепляется конденсатосборник или стакан из нержавеющей стали.
Выполнение уклонов поворотов уступов
Самый лучший вариант монтажа дымохода для газового котла – это идеально прямое положение без дополнительных уступов. Однако при установке оборудования такого эффекта сложно добиться. Однако здесь необходимо следовать нормам по отклонению – допускается не более 30 градусов
Также нужно обратить внимание на размеры сечения наклонных участков – они должны соответствовать нормативам. Труба между котлом и дымоходом должна быть не менее 50 см, а также находится в вертикальном положении
Желательно установить минимальное количество горизонтальных участков.
Корректное соединение труб
Чтобы соединить элементы дымохода, необходимо дополнительно воспользоваться хомутами. При этом обязательно нужно проследить за уклоном всей системы – он должен быть в пределах 90 градусов. Обязательно оставляют расстояние между трубами и поверхностями. Нормативы говорят о том, что между горючими материалами расстояние должно быть не менее 25 см. Если же поверхность огнестойкая, то допускается дистанция в 10 см.
Соблюдение норм пожаробезопасности
Поскольку в процессе работы дымохода владелец дома будет иметь дело с огнеопасными процессами, необходимо при установке соблюдать меры пожарной безопасности:
- В деревянном помещении необходимо использовать огнеустойчивый материал в качестве изоляции вокруг оборудования, а саму трубу рекомендуются отделать асбестом;
- Если речь идет о бетонной или кирпичной стене здания, то здесь будет достаточно монтажной пены в качестве изоляции.
Из чего изготавливают воздуховоды для газовых котельных
Согласно приложению «Г» СНиП 402.1325800.2018 дымоходы и воздухоотводы производят из негорючих материалов. Там, где вентканалы проходят через неотапливаемые пространства, требуется теплоизоляция, наружная часть каналов из кирпича должна соответствовать характеристикам морозостойкости.
Не допускается изготовление из пористых или неплотных материалов. Рассмотрим основные способы обустройства.
Из кирпича с вытяжными каналами
Кирпич в основном применяется в твердотопливных котельных. Низкая температура газопламенных приборов приводит к постоянному образованию конденсата, материал разрушается, кроме этого воздухоотводы сложно чистятся.

Монтаж стальных вытяжных каналов внутрь кирпичной кладки может стать эффектным архитектурным элементом и решит задачу на десятки лет.
Из набора керамических вентиляционных труб
Керамика бывает разной. Например для дымоходов используют керамические трубы с температурными режимами до 650 оС. Для устройства вытяжки газового котла в частном доме такой запас прочности не требуется. В качестве утеплителя обычно используют минеральную вату.
Стальные сварные или наборные воздуховоды
Для обустройства вентиляции газового котла в частном доме подбирают нержавеющие и оцинкованные стальные изделия. Сами воздухоотводы могут быть круглыми и прямоугольными. Наборные системы включают в себя не только каналы, но и многочисленные автоматические устройства: фильтры, калориферы, шумоглушители, охладители.

Можно сделать вентканал из свитой в спираль стальной ленты или алюминиевой фольги. При транспортировке их можно складывать в гармошку и монтировать, придавая любую форму. Единственный недостаток этих изделий: повышенное аэродинамическое сопротивление.
Принцип работы
Принцип работы канальной приточной вентиляции Оборудование представляет собой установку вытяжной или приточной вентиляции для обработки воздушных потоков и подачи его в помещение котельной. Устройство является компонентом системы отопления и часто подключается к центральной трубе. Воздух поступает напрямую с улицы или через магистраль воздуховодов. Сложная система состоит из металлических коробов или труб, между которыми монтируются функциональные приборы. Наружные элементы защищаются от атмосферного действия.
- Вентилятор с двухфазным электрическим двигателем подает воздух в котельную или в общую воздуховодную магистраль.
- Фильтры очищают воздух, используются грубые виды или способ электростатического осадкообразования. Грубые элементы ставятся перед тонкими фильтрами, защищают их от поломки и легко заменяются.
- Нагревательные или охладительные приборы изменяют температуру поступающего потока. Применяется тепловые насосы, электронагреватели или испарители.
Балансировочные устройства, амортизация и шумоизоляция в системе устраняют вибрацию и снижают звучание при работе. Колебания изолируются и гасятся препятствиями, а вентилятор ставится на опоры из пружин.
Плюсы и минусы двух систем
Естественная вентиляция
Для оборудования такой вытяжки самостоятельно не нужно особых навыков, при этом она обладает целым рядом достоинств:
- Отсутствие механизмов делает такой воздухообмен надежным и долговечным.
- Нет необходимости тратиться на приобретение приборов.
- Простота в работе.
- Бесшумность в момент эксплуатации.
В свое время такая вытяжка вполне отвечала своим требованиям, но с появлением нового газового оборудования, взгляд на это поменялся.
При этом обнаружились следующие существенные недостатки:
- Зависимость оптимальной циркуляции воздуха от времени года и климатических условий.
- Невозможность регулирования воздушного потока.
- Проникновение посторонних частиц через систему.
Рекомендуем ознакомиться: Вентиляция коровника
А также при понижении поступления воздуха появляется вероятность повышения влажности в помещении.

Искусственная вентиляция
Искусственная вытяжка является лучшим вариантом при устройстве газовых котельных, так как:
Есть возможность самостоятельной регулировки подачи воздуха
Важность данной вентиляции в закрытых помещениях. Приятный микроклимат в комнате
Возможность регулирования воздухообмена с помощью пульта. Независимость от погодных условий.
Если в доме котел с коаксиальным выводом, то встроенный вентилятор в нем автоматически создает благоприятную атмосферу для проживания человека.
Не пропустите: Как проверить теплый пол мультиметром: варианты поломки, диагностика
Единственным недостатком такой системы можно признать довольно высокую стоимость этой установки.

Назначение вентиляции
Вентиляция котельной состоит из двух функциональных подсистем: приток атмосферного воздуха и отвод уходящих газов от отопительного котла.
Назначение системы дымоотвода:
- Подача кислорода в составе воздуха в необходимом количестве для полного сжигания топлива. Дефицит кислорода уменьшает эффективность работы котельной установки из-за потерь, вызванных неполным сгоранием топлива. Кроме того несгоревшие частицы топлива проходят по газовому тракту котла и дымоотводящих каналов, вызывают преждевременный износ поверхностей оборудования, заносят сажей дымоходы и загрязняют окружающую среду.
- Вывод вредных дымовых газов, образовавшиеся в результате процесса горения. При несоблюдении технологических правил эксплуатации котельного оборудования в части топочных режимов, угарный газ попадает в помещение с образованием опасной концентрации вредных веществ в воздухе, что является угрозой для здоровья окружающих.
- Выполняет функции вытяжки газового котла в частном доме при аварийных утечках дымовых газов или природного газа в топочную. Такая ситуация возможна в случае нарушения целостности газопровода, отрыва газового пламени от горелки, а также при падении разрежения в топке.
Габариты для помещений с другими котлами
Кроме газового оборудования, существуют и другие приборы, работающие на электричестве, твердом или жидком виде топлива. Для бойлерных, обслуживающих разные типы оборудования, разработаны свои стандартные правила.
На жидком топливе
Котлы подобной категории используют для работы мазут, масло, дизельное топливо. Они издают сильный шум и специфический запах. Из-за этих факторов жидкотопливную котельную лучше разместить в отдельном строении, можно в гараже. Для удобства следует позаботиться о звукоизоляции, а металлические двери дополнить уплотнителем, он в какой-то степени поможет удерживать шум и запах.
Производя расчет параметров комнаты, учитывается 4,5 кв. м для установки котла и место для хранения топлива. В крайнем случае топливный бак можно определить вне помещения. В котельной нужна хорошая вентиляция, внизу стены предусматривается окно с возможностью проветривания. Жидкотопливные бойлерные оборудуют крайне редко из-за жестких требований пожарной безопасности.
На твердом топливе
К твердым видам топлива относятся дрова, всевозможные евродрова, пеллеты, топливные брикеты, уголь и торф. Весь этот ассортимент не взрывоопасен и стоит дешевле газа, но уступает ему в комфортности. К тому же такие котлы имеют низкий КПД, всего 75%. Требования по ГОСТу для твердотопливной бойлерной менее жесткие, чем для газового оборудования. Комната должна располагать размерами 8 кв. м и находиться в отдельном строении. Но иногда ее обустраивают в помещении ниже жилого уровня.
Проводка в комнате должна быть скрытой, лучше, если она проходит внутри огнеустойчивых труб, и иметь пониженное напряжение (42 В) для питания розеток. Для оборудования выключателей применяется максимальная герметичность.
Для твердотопливных котельных важна приточно-вытяжная вентиляция, поступление свежего воздуха дает возможность топливу лучше разгораться. Сечение вытяжки для цокольного этажа рассчитывается по схеме – 1 киловатт мощности котла на 8 кв. см. Для подвального помещения размеры сечения увеличиваются до 24 кв. см на кВт мощности. В нижней части стены устанавливают приточное окно.
Дымоход должен быть прямым, в крайнем случае иметь минимум колен. Хорошо, если сечение трубы совпадает с диаметром входного отверстия, но не сужается переходником. Вывод трубы наружу производится благодаря узлу из огнестойкого материала, установленного на выходе дымохода через крышу или стену. Топочные комнаты с твердым топливом необходимо оборудовать противопожарным щитом и огнетушителем.
На электричестве
Котлы, работающие на электричестве, наиболее безопасны и комфортны. Но прежде чем решиться на их установку, следует взвесить все «за» и «против», каждый из аргументов достаточно весом и может повлиять на выбор владельца. Начнем с положительных моментов.
- Обогревательный котел такого типа опасен не более любого бытового электроприбора, находящегося в доме.
- Для него не нужна специальная комната, для установки вполне подойдет кухня, санузел, прихожая.
- Нет необходимости оборудовать специальную вентиляционную систему.
- Котел не имеет опасных продуктов горения.
- Не издает шума и запаха.
- Его КПД приближается к 99%.
Основным минусом данного вида оборудования является полная зависимость от внешней подачи электроэнергии. Установка котлов в районах с частым перебоем электричества нецелесообразна. Для зданий с площадью около 300 кв. м понадобится котел мощностью 30 кВт. Отопительную систему необходимо оборудовать стабилизатором, предохранительными автоматами. Проводка в доме должна быть новой и усиленной.
Есть еще один существенный минус обогрева дома с помощью электроэнергии – это стоимость такого отопления, она самая высокая среди всех известных способов. Какой бы вид отопительной системы ни был выбран, необходимо соблюдать рекомендации по ее установке и эксплуатации.
Виды вентиляционных систем
Циркуляция воздушных масс в помещении выполняется естественной или принудительной. Первую применяют для котлоагрегатов тепловой мощностью до 30 кВт, если подобная система предусмотрена для данной модификации заводом-изготовителем.
Вторая схема устанавливается в более мощных котлах с развитыми поверхностями нагрева, несколькими контурами циркуляции и большой протяженностью дымовентиляционных каналов. Такая система теплоснабжения имеет большие аэродинамические сопротивления по пути движения газовоздушной смеси, которую потребуется преодолеть дымовым газам.
В связи с чем их движение может быть обеспечено только принудительно с использованием дутьевого вентилятора или дымососа.
Естественная
В наименьшей степени эффективная система и при этом более простая, устанавливается в одноэтажных домах небольшой площади с маломощными котлами. Зачастую ее используют для организации воздухообмена, протекающего в подвальных, чердачных, подсобных помещениях и гаражах.

Естественная вытяжка в котельной
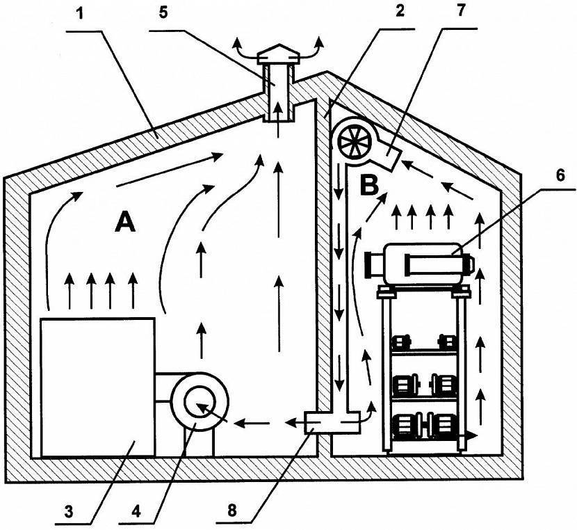
Забор воздушных масс в помещении топочной выполняется через форточки, оконные проемы, вентиляционные решётки в дверных полотнах, а вытяжная вентиляция — через воздуховоды, размещенные вверху стен либо в потолочных перекрытиях с выводом над крышей.
К примеру, размещают котлоагрегат непосредственно против входа, а вытяжное отверстие — над котлом. Воздушные массы передвигаются снизу, проходят через всю топочную и поступают вверх к вытяжке. Окно при этом может находиться на любой стене.
Выходное отверстие воздуховодов не рекомендуют размещать около котла. В зимнее время резкое падение температур наружного воздуха может отразиться на работе котла, в связи, с чем отверстие выполняют на расстоянии не меньше 1-1.5 м от зоны его расположения.
Принудительная
Турбированные отопительные устройства или котлы с принудительной циркуляцией устанавливаются только по рекомендациям завода-изготовителя оборудования. Они выпускаются с закрытыми топочными камерами, а воздух подается дутьевыми центробежными вентиляторами.
Для повышения эффективности котельного оборудования и его ремонта, в современных котлах устанавливают комбинированная система воздухоподачи с применением воздушных фильтров, калорифера, для предварительного подогрева воздуха и вентиляторов.
Для газовых котлов большей мощности дополнительно устанавливаются дымососы, которые создают разрежение в топке, тем самым заставляя перемещаться дымовые газы по газоходам.

Инновационные бытовые котлоагрегаты с закрытой топкой, использующие газообразное топливо, комплектуются автоматикой с погодозависимой системой управления и безопасности.
Она устанавливает режим в зависимости от температуры наружного воздуха, в связи, с чем регулирует подачу объема газового топлива. Данная функция должна согласовываться с количеством воздуха поступающего в котел, чтобы обеспечить полноту сгорания газа.
Для согласованности теплотехнических и аэродинамических процессов служат первичные датчики по температуре греющей воды и давлению тяги в топочном пространстве.
Таким образом, исполнительные механизмы в режиме открытия/закрытия топлива будет работать пропорционально с расходом воздуха, поступающего на горелочное устройство.
Подбор и монтаж оборудования
Воздухообмен естественным путем в котельном помещении достигается за счет приточного и вытяжного каналов.
При монтаже приточного канала необходимо:
- Подготовить кусок пластмассовой трубы, фильтрующую сетку и обратный клапан. Сечение трубы подбирается в зависимости от мощности котла. В случае, когда производительность менее 30 кВт, то хватит 150 мм. Чем больше мощность, тем больше сечение.
- Для создания правильного процесса горения и соответствующей вытяжки в частном доме, подачу воздуха нужно создать как можно ближе к топке котла. Поэтому отверстие в стене нужно пробить напротив горелки, но не выше его рабочей зоны. В отверстие вставляется отрезок трубы, и щели заделываются монтажной пеной.
- Снаружи патрубок закрывается сеткой для предохранения от насекомых и мелких животных. Внутри трубы нужно установить обратный клапан для защиты от обратной тяги на улицу.
- Трубы для вытяжки в котельном помещении при естественном вентилировании устанавливаются только вертикально, при этом высота их не должна быть меньше 3,5 м.
Сейчас многие пользователи не задаются вопросом перед выбором той или иной приточной вентиляции, так как оптимальным решением будет установка комбинированной системы воздухообмена.
Котельная в частном доме в отдельном помещении (встроенном или пристроенном)
Отдельные помещения-бойлерные для установки газовых котлов мощностью до 200 кВт должны быть отделены от остальных помещений негорючей стеной с пределом огнестойкости не менее 0,75 часа. Таким требованиям отвечает кирпич, шлакоблок, бетон (легкий и тяжелый). Требования к отдельным топочным во встроенном или пристроенном помещении следующие:
- Минимальный объем — 15 кубометров.
- Высота потолков : при мощности от 30 кВт — 2,5 м;
- до 30 кВт — от 2,2 м.
Должно быть окно с фрамугой или форточкой, площадь стекла не меньше 0,03 квадрата на каждый кубометр объема. Вентиляция должна обеспечивать не менее чем трехкратный обмен воздуха за один час.
В случае если котельная организована в подвальном или цокольном этаже, минимальный размер котельной будет больше: к обязательным 15 кубам добавляется 0,2 м2 на каждый киловатт мощности, которая идет на отопление. Также добавляется требование к стенам и перекрытиям, смежным с другими помещениями: они должны быть паро- газо- непроницаемыми. И еще одна особенность: топочная в подвальном или цокольном этаже при установке оборудования мощностью от 150 кВт до 350 кВт должна иметь отдельный выход на улицу. Допускается выход в коридор, ведущий на улицу.
Нормируется не площадь котельной, а ее объем, задается также минимальная высота потолков
Вообще, размер котельной в частном доме целесообразно выбирать исходя из удобства обслуживания, что, обычно, намного превосходит нормативы.
Особые требования к пристроенным котельным
Их не очень много. К пунктам, изложенным выше добавляются три новых требования:
- Пристройка должна располагаться на сплошном участке стены, до ближайших окон или дверей расстояние должно быть не менее 1 метра.
- Выполнена она должна быть из негорючего материала с пределом огнестойкости не менее 0,75 часа (бетон, кирпич, шлакоблок).
- Стены пристройки не должны быть связаны со стенами основного здания. Это значит, что фундамент надо делать отдельным, несвязным и строить не три стены, а все четыре.
Пристройка делается из негорючего строительного материала
Что надо иметь в виду. Если вы собираетесь устроить котельную в частном доме, а помещения подходящего объема нет или высота потолков немного ниже требований, вам могут пойти на встречу и потребовать взамен увечить площадь остекления. Если же вы планируете строительство дома, то надо выдерживать все требования, иначе проект вам никогда не согласуют. Также жестко подходят и к строительству пристроенных котельных: все должно соответствовать нормам и никак иначе.
Виды вентиляции
Основных видов вентиляции всего два: принудительная и естественная, а в ряде случаев используется комбинированная, которую иногда выделяют в отдельную категорию.
Как видно из названий, в первой разновидности вентиляции используется принудительная подача воздуха, для чего применяются воздушные насосы или вентиляторы. Во втором случае приток воздуха происходит за счет разности его температуры и давления – в помещении и вне его. Чтобы обеспечить воздухообмен, достаточно правильно расположить вентиляционные отверстия. Также часть воздуха может проникать в помещение через естественные отверстия – например, щели под дверями.
Если есть такая возможность, то выгоднее всего использовать комбинированная систему – пока с воздухообменом справляется естественная вентиляция, принудительная находится в режиме ожидания.
Естественная вентиляция
Если обеспечивается троекратная смена объем воздуха за час, то в стандартном шестиметровом (по высоте) помещении можно обойтись организацией естественного воздухообмена.
При понижении потолка на каждый метр придется увеличить воздухооборот на 25% минимум. Плюс, следует в любом случае проектировать воздухообмен с некоторым запасом.

Схема работы вентиляционной системы в котельной частного домаИсточник pew.ledikycora.ru.net
Схема предельно проста – напротив котла, в двери или стене, организуется входное отверстие вентиляции (диаметр зависит от мощности котла), которое располагается не выше его рабочей области. Второе, вытяжное отверстие организуется над котлом, обычно на него крепится воздуховод с обратным клапаном (чтобы вытяжка работала только в одну сторону) и «зонтиком» на наружной стороне (чтобы трубу не заливало).
Расстояние между «входом» и «выходом» воздуха в помещении должно быть максимально возможным для обеспечения лучшей тяги.
Недостатки естественной вентиляции:
- Зависимость от погодных условий. Необходимо защищать воздуховоды от внешних воздействий среды.
- Сложность точного расчета кондиционирования. В зависимости от направления и силы ветра в помещение может поступать различный объем воздуха.
- Очень сложно спроектировать одну систему вентиляции для нескольких комнат – чтобы через все помещения проходила одна труба. Преимущественно вывод из каждой комнаты делается сразу на улицу.

Принудительная система вентиляции или проще говоря вытяжка для котла в частном домеИсточник m.yukle.mobi
Принудительная вентиляция
Принудительная подача воздуха осуществляется за счет так называемых «механических устройств», то есть вентиляторов. Такой тип обустройства воздухообмена удобен сразу двумя особенностями:
- Появляется возможность установки климатического оборудования, с калориферами и фильтрами, которое будет очищать и нагревать поступающий воздух;
- Также появляется возможность включения системы только в необходимые моменты, что позволит экономить электроэнергию, включая ее, например, только при работе котла.
Минусы принудительной вентиляции следующие:
Стоимость – прежде всего, такая система обойдется дороже, чем естественная вентиляция;
В ряде случаев, шумность – например, при установке климатического оборудования с кондиционированием;
Выбор оборудования без должной подготовки может быть чреват нарушением безопасности: в частности, для газовых котельных важно иметь пожароустойчивое оборудование.

Отопительная система это достаточно сложный комплекс оборудования, поэтому его подбором и наладкой должны заниматься профессионалыИсточник stroimdom.com.ua
Процесс монтажа
Дымоход может иметь как внутреннее (в доме), так и внешнее расположение (вне дома). Рассмотрим процесс монтажа каждого варианта.
Вне дома
- Присоединить горизонтальный участок сэндвич трубы, который пройдёт через стену к патрубку котла;
- изолировать этот участок и само отверстие в стене;
- прикрепить тройник с ревизией и установить заглушку;
- нарастить последующими звеньями трубу до нужной высоты. В качестве крепёжных элементов используются кронштейны, которыми труба крепится к стене с шагом от 2 м;
- присоединить сверху конструкции конусообразный наконечник;
- усилить стыки хомутами;
- окрасить поверхность трубы термостойкой краской.
В доме
- разметить места выхода дымохода в перекрытиях и кровельном покрытии;
- вырезать проёмы в конструкциях;
- соединить патрубок котла с переходным адаптером;
- присоединить тройник и ревизию;
- прикрепить лист стали и установить основной кронштейн;
- нарастить трубу до нужной высоты;
- в месте перехода перекрытий монтировать защитную конструкцию (проходной патрубок) из оцинкованной стали, в которой нужно вырезать отверстие чуть больше диаметра дымохода. Затем заготовку одевают на дымоход и крепят её к стенкам проёма в перекрытие;
- зафиксировать дымоход стенными кронштейнами и усилить стыки с помощью хомутов;
- установить защитный наконечник сверху трубы.
Выходной участок вентканала над кровлей должен возвышаться:
- над коньком кровли или парапетом не менее, чем на 0,5 м, если дымоотводная труба находится на расстоянии не более 1,5 м от парапета и верхнего ребра крыши;
- выше конька или парапета или быть на их уровне, если труба на расстоянии 1,5 — 3 м от конька и парапета;
- быть не ниже условной линии, проведённой от конька под углом 10º — если высота флюгарки относительно конька более 3 м;
- над плоской кровлей не менее, чем на 50 см.
Смотрите видео по устройству дымохода:
Виды вентиляции
Основных видов вентиляции всего два: принудительная и естественная, а в ряде случаев используется комбинированная, которую иногда выделяют в отдельную категорию.
Как видно из названий, в первой разновидности вентиляции используется принудительная подача воздуха, для чего применяются воздушные насосы или вентиляторы. Во втором случае приток воздуха происходит за счет разности его температуры и давления – в помещении и вне его. Чтобы обеспечить воздухообмен, достаточно правильно расположить вентиляционные отверстия. Также часть воздуха может проникать в помещение через естественные отверстия – например, щели под дверями.
Если есть такая возможность, то выгоднее всего использовать комбинированная систему – пока с воздухообменом справляется естественная вентиляция, принудительная находится в режиме ожидания.
Естественная вентиляция
Если обеспечивается троекратная смена объем воздуха за час, то в стандартном шестиметровом (по высоте) помещении можно обойтись организацией естественного воздухообмена.
При понижении потолка на каждый метр придется увеличить воздухооборот на 25% минимум. Плюс, следует в любом случае проектировать воздухообмен с некоторым запасом.
Схема работы вентиляционной системы в котельной частного дома Источник pew.ledikycora.ru.net
Схема предельно проста – напротив котла, в двери или стене, организуется входное отверстие вентиляции (диаметр зависит от мощности котла), которое располагается не выше его рабочей области. Второе, вытяжное отверстие организуется над котлом, обычно на него крепится воздуховод с обратным клапаном (чтобы вытяжка работала только в одну сторону) и «зонтиком» на наружной стороне (чтобы трубу не заливало).
Расстояние между «входом» и «выходом» воздуха в помещении должно быть максимально возможным для обеспечения лучшей тяги.
Недостатки естественной вентиляции:
- Зависимость от погодных условий. Необходимо защищать воздуховоды от внешних воздействий среды.
- Сложность точного расчета кондиционирования. В зависимости от направления и силы ветра в помещение может поступать различный объем воздуха.
- Очень сложно спроектировать одну систему вентиляции для нескольких комнат – чтобы через все помещения проходила одна труба. Преимущественно вывод из каждой комнаты делается сразу на улицу.
Принудительная вентиляция
Принудительная подача воздуха осуществляется за счет так называемых «механических устройств», то есть вентиляторов. Такой тип обустройства воздухообмена удобен сразу двумя особенностями:
- Появляется возможность установки климатического оборудования, с калориферами и фильтрами, которое будет очищать и нагревать поступающий воздух;
- Также появляется возможность включения системы только в необходимые моменты, что позволит экономить электроэнергию, включая ее, например, только при работе котла.
Минусы принудительной вентиляции следующие:
Стоимость – прежде всего, такая система обойдется дороже, чем естественная вентиляция;
В ряде случаев, шумность – например, при установке климатического оборудования с кондиционированием;
Выбор оборудования без должной подготовки может быть чреват нарушением безопасности: в частности, для газовых котельных важно иметь пожароустойчивое оборудование.

Отопительная система это достаточно сложный комплекс оборудования, поэтому его подбором и наладкой должны заниматься профессионалы Источник stroimdom.com.ua
Нормативно-правовая база РФ
Монтаж вентиляционных систем обязателен вне зависимости от типа используемого отопительного оборудования (п.9.38 СНБ 4.03.01-98). Установка отопительного и вентиляционного оборудования производится под надзором представителей газовых служб.
Если при пусковых испытаниях будут выявлены недочеты системы вентиляции и технические несоответствия проектной документации, во вводе в эксплуатацию системы отопления будет отказано.
В задачи инспектора газовой службы входит визуальный осмотр оборудования, проверка функций безопасности, управления и произведение контрольных замеров окиси углерода. При необходимости собственник помещения может потребовать у инспектора предоставить сертификаты-разрешения на работу с анемометром или СРО
Вентиляция обеспечивает постоянный интенсивный приток свежего воздуха. Функционирование вытяжных систем регламентируется рядом нормативных актов.
Законодательные акты и ГОСТы
Нормативно-правовая база, касающаяся вентиляции и кондиционирования газового оборудовании, достаточно обширна. К этим НПА относятся:
- ФЗ №384;
- Постановление Правительства №1521 об обеспечении на обязательной основе соблюдения 384-ФЗ;
- Постановление Правительства №87;
- Постановление Правительства №410 о мерах безопасности по содержанию газового оборудования;
- СНиП (II-35-76, 2.04-05);
- СанПиН 2.2.4.548-96. 2.2.4;
- Стандарты и рекомендации АВОК в области вентиляции и т.д.
Но законодательные акты могут меняться, поэтому при монтаже вентиляционного оборудования для обустройства газовой котельной следует отслеживать их последние редакции в официальных источниках.
Все стандарты и нормативы, которые будут применяться при проверке вентиляционного оборудования, можно уточнить в газовой службе своего населенного пункта
Также все вентилируемые системы в помещениях с котельным оборудованием должны соответствовать следующим ГОСТам и СП:
- ГОСТ 30434-96;
- ГОСТ 30528-97;
- ГОСТ Р ЕН 12238-2012;
- ГОСТ Р ЕН 13779-2007 о кондиционировании и вентиляции в нежилых зданиях;
- ГОСТ 30494-2011о микроклимате в жилых и общественных постройках;
- СП 7.13130.2013 о требованиях при обеспечении противопожарной безопасности;
- ГОСТ 32548-2013 (межгосударственный стандарт);
- СП 60.13330.2012 (относится к СНиП 41-01-2003) и т.д.
На основании этих нормативных актов должна составляться проектная документация. Чтобы она не противоречила официальным требованиям и стандартам, необходимо на этапе разработки проекта провести тепловые расчеты и вычислить основные параметры вытяжной системы.
Сертификация вентиляционного оборудования
При покупке устройств вытяжки и поставки свежего воздуха следует проверить их документы. На вентиляционное оборудование, реализуемое на территории РФ, в обязательном порядке оформляется декларация соответствия.
Этот документ подтверждает то, что устройства соответствуют всем актуальным требованиям Таможенного Союза, изложенным в следующих технических регламентах:
- ТР ТС 004/2011 о применяемом низковольтном оборудовании и безопасности его эксплуатации;
- ТР ТС 020/2011об электромагнитной совместимости используемой аппаратуры;
- ТР ТС 010/2012 о безопасности машин и оборудования.
Это декларирование продукции является обязательным, но помимо него производитель или импортер вентиляционного оборудование может пройти официальную процедуру добровольной сертификации на соответствие стандартам ГОСТ. Наличие такого сертификата, полученного на добровольной основе, свидетельствует о высоком качестве продукции и надежности производителя.
Добровольный сертификат соответствия на воздуховоды можно запросить при покупке вентиляционного оборудования для газовой котельной. В нем указываются все технические характеристики продукции
Но добровольная сертификация требует дополнительных капиталовложений, поэтому на ней нередко экономят. В соответствие с ФЗ №313 и Постановлениями Правительства №982 и №148 обязательная сертификация вентиляционного оборудования упразднена.




































